145kV Circuit-Breaker
- Free Samples
- Quality Assurance
- 24/7 Customer Service
Product Introduction
145kV High-Voltage Circuit Breaker – Product Introduction
The 145kV Circuit Breaker is a high-performance, outdoor AC high-voltage switching device designed for reliable interruption and control in electrical transmission and distribution systems. Engineered to operate under extreme environmental conditions, it plays a critical role in protecting power equipment by automatically disconnecting fault currents and maintaining grid stability.
This circuit breaker is suitable for substations, power plants, and heavy industrial facilities. It features superior arc-extinguishing capability, high dielectric strength, and a long service life. Available in SF₆ gas-insulated, vacuum, or hybrid designs, the 145kV breaker meets or exceeds IEC and ANSI standards, ensuring global compatibility and safety.
Key Features:
Rated Voltage: 145kV
Rated Current: Up to 4000A
Short-Circuit Breaking Capacity: Up to 50kA
Operation Type: Spring or hydraulic mechanism
Interruption Medium: SF₆ / Vacuum / Hybrid
Standards Compliance: IEC 62271-100, ANSI C37
Advantages:
Fast and reliable fault interruption
Low maintenance and long operating life
Compact design for space-constrained installations
Designed for harsh outdoor environments (IP-rated)
Optional remote monitoring and control features
Applications:
Transmission substations
Power generation units
Renewable energy integration systems
Heavy industrial networks
Smart grid automation systems
145kV Circuit-Breaker
Installation and Operation Manual

The manufacturer of this switchgear / switching device is Shaanxi Yuguang Electric Co.,Ltd.
Has introduced and applies a quality system in accordance with ISO 9001/GB/T19001
Quality systems:
Model for quality assurance in design, development, production, installation and service.
Subject to change.
1-Contents2-General
0010 Introduction
0100 General Warning
3-Description
0080 Technical Data
0410 Circuit-Breaker
0510 Pole Columns
0810 Interrupter Unit
1010 Arc Quenching
1200 Spring Drive Mechanism of the Circuit-Breaker
1205 Function of the Spring Drive Mechanism
1510 Control
4- Installation
0080 Safety Rules for Installation
0205 Delivery and Storage
2080 Cleaning Liquids, Lubri-cants and Corrosion Pro-tection Agents
2110 General Instructions for Installation
4010 Installation of the Breaker
4110 Earthing and Connecting the Leads
4130 Filling the Breaker with SF-Gas
9000 Commissioning Report for the Circuit-Breaker
5-Operation
0100 Operation
0181 Recommended Procedure in the Event of Irregularities on the Circuit-Breaker
0500 Disposing of High-Voltage Switching Devices and Systems
6- Maintenance
0100 Checking and Maintenance - General
0110 Maintenance Schedule
0180 Safety Rules for Inspection and Maintenance Service- General
0200 Work to be Carried out in Accordance with the Maintenance Schedule
Function Diagram of Spring Drive Mechanism
0010 Introduction
These operating instructions are valid for the type and version of the circuit breaker specified on the title page. It should familiarize the operating personnel with the mechanical design and function of the circuit breaker, there are also notes on operation, erection and maintenance.
All values of pressure given are gauge values unless absolute pressure is expressly stated.
It is advisable for the operating personnel to familiarize themselves as early as possible with the instructions, and with the aid of other documents supplied to gather any relevant further information on the circuit breaker and its features.
In case that the repair and/or replacement of the Products and/or parts does not follow relevant requirements provided in the operating instruction and/or other technical documents delivered by Seller to Buyer, Seller will be released from its warranty obligations with respect to relevant Products and/or parts.
The operating instruction and other technical documents (collectively referred to as "Technical Documents") delivered by Seller to Buyer shall constitute an integral part of this Technical Agreement. If there are any discrepancies between this Technical Agreement and Technical Documents, the Technical Documents shall prevail.
NoteThe operating instructions contain information on proper operation and maintenance of the circuit breaker, together with certain supplementary warning notices.
0100 General Warning
During operation, certain parts of the circuit-breaker are live and hazardous voltages therefore present. Certain parts are also under gas pressure (SF₆).
In its pure state, sulphur hexafluoride (SF₆) is a colourless, odourless, tasteless, non-toxic and non-flammable gas, inactive like nitrogen. SF₆ is safe if there is adequate oxygen present in inhaled air. SF₆ constitutes no danger to the ecosystem.
During transport and delivery the breaker poles are filled with SF₆ gas at 0.3...0.5 bar / 0.03...0.05 MPa.
Personnel must be thoroughly familiar with all warnings and procedures for installation, operation, maintenance and repair contained in these operating instructions.
WARNING
Non-observance of warnings can result in death, severe personal injury and substantial property and environment damage.
The customer/user of the circuit-breaker must ensure that the installation, maintenance and relevant operating directives, local safety regulations and information on what to do in the event of an accident are available or displayed so that they can be referred to at any time.
Additional to the safety rules valid in the country in question, a few precautionary measures and points to be noted are listed below:
The accessory items required for installation, operation and maintenance of the circuit-breaker and for reasons of safety (protective clothes, devices for manual operation, warning signs, hand lamps, fire extinguishers etc.) must be stored neatly at a certain point and be checked regularly for completeness and proper functioning. This also includes the complete operating instructions.
The specified maintenance intervals and the instructions for repair and replacement must be adhered to.
Detailed warning references describing the secure execution of dangerous work are included in the particular sections of the operating instructions. They are highlighted by frames, bold lettering and/or other means.
WARNING
Warning in the sense of these operating instructions means that death, severe personal injury or substantial property and environmental damage may occur if appropriate safety measures are not taken.
Attention
Attention in the sense of these operating instructions means that light personal injury or property/environmental damage may occur if appropriate safety measures are not taken.
Note
This shall denote a possibly dangerous situation. If such a situation is not avoided, the circuit-breaker or anything in its vicinity can be damaged.
The following safety regulations provide an overview of the dangers existing and their sources, and describe the possible consequences if the rules specified are not complied with. They are expressed more exactly in the operating instructions. It's advisable to read carefully and perform them strictly.
Attention
In order to avoid accidents, fire, personal injury and impermissible burdens on the environment and in order to assure the functional reliability of the switchgear, the user must ensure that:
a responsible person, if necessary authorized to supervise, is put in charge of performance of commissioning,
only qualified and instructed personnel are assigned for installation, commissioning, operation and maintenance.
the regulations and instructions for work safety (e.g. in the use of equipment), together with instructions on action to be taken in the event of accidents and fire, are available at all times and if necessary displayed in the place of work,
the tools, equipment and apparatus required for work safety and the personal protective equipment required for certain tasks are available,
only those materials, lubricants, cleaning liquids and auxiliary equipment and spare parts approved by the manufacturer are used.
Improperly performed installation, maintenance and operation can result in danger and malfunctions.
After installation and commissioning, the commissioning report must be filled out and return to manufacture.
WARNING
·Danger to installation personnel can result from
·hazardous voltage
·gas pressure in the pole columns
·SF₆ gas
·falling and/or toppling parts and/or moving parts.
Non-observance of warnings can result in death, severe personal injury and substantial property and environmental damage.
WARNING
Hazardous voltage - Electric shock and burning as a result of arcing are possible if live parts are approached.
If high voltage is present in the vicinity at the place where work is to be done, a responsible person from the power supply utility must, before work starts:
·Switch off and isolate
·Prevent unintentional switch-on
·Test that equipment is dead
·Ground and short-circuit the equipment
·Cover or fence off nearby live parts
It must be confirmed that these safety measures have been taken.
WARNING
The pole columns are under pressure (see section 3-0080 Arc Quenching Medium SF₆) - Damage to the porcelain parts can result in severe personal injury.
Do not allow any tools or hoisting gear to knock against the porcelain parts.
Do not lean any ladders against the pole columns; use step ladders.
WARNING
SF₆ is heavier than air. In closed areas it may displace the air - Danger of suffocation!
Use a service unit for all work with SF₆ gas. Extract the SF₆ filling; do not let it escape into the air.
Attention
Danger of bursting if porcelain bodies are damaged. Severe personal injury can result.
Avoid damaging the porcelain bodies.
The breaker poles are filled for dispatch with SF₆-gas at 0.3...5 bar.
Note
In case of storing the breaker longer then 3 months the anti-condensation heater in the control cubicle and on the operating mechanism cubicles must be switched on.
WARNING
If unsuitable bolts are used, they can malfunction and cause severe personal injury.
If the number of bolts supplied for the pressure vessels is insufficient, spare bolts must be ordered from the factory only.
Attention
Unchecked tightening can result in damage to or loosening of bolt joints.
Use torque wrench for assembly. Tightening torque see section 4-2110.
WARNING
The control leads must not be connected to the terminal block of the operating mechanism until the breaker has been erected complete with the pole columns.
Note
Before placing the pole columns on the base, the SF₆ priming filling of the individual pole columns must be checked. If no hissing noise is audible, there could be transport damage.
WARNING
For safety reasons, work on high-voltage terminals should be carried out before the breaker is filled with SF₆-gas up to nominal pressure.
Connecting cables must be fitted in dead state.
WARNING
Release the SF₆ pressure before working on the screw connections of the gas chamber.
WARNING
Danger of bursting if porcelain bodies are damaged. Severe personal injury can result.
For safety reasons no persons may remain within 60 m of the breaker while the first 5 test operations are being carried out.
WARNING
Danger of serious mechanical damage!
Mechanical test operations must only be performed with sufficient SF₆ gas filling: Pressure must at least be at the level of general lockout SF₆, see section 3-0080 Arc Quenching Medium SF₆.
The operating instruction shall constitute an integral part of the technical agreement, in case that the check and/or maintenance of Product and replace of parts don't follow the operating instruction, manufacturer will be released from its warranty obligations with respect to products and/or parts
0080 Technical Data
The circuit-breaker is of the self-compression type and uses SF₆-gas for insulation and arc-quenching purposes. It is of triple-pole outdoor design.
The breaker has for all three phases a common operating mechanism and is therefore suitable for triple-polar auto-reclosing.
05 Standard specifications
The circuit-breaker, together with the equipment and special tools also supplied, is in conformity with the statutory laws, rules and standards applying at the time of delivery.
The specifications in IEC-Publications 62271-100
The specifications in IEC-Publications 62271-1
The specifications in GB-Publications 1984
The specifications in DL-Publications 593
The technical data actually applying to the switching device supplied are stated on the rating plate and in the appended documentation.
10 Operating temperatures
The circuit-breakers are designed for operation in an ambient temperature range from -30℃ to +40℃. Other value can be available on order.
15 Insulation rating as per IEC
|
Rated voltage |
kV |
145 |
|
Rated frequency Rated power frequency withstand voltage (eff) -to earth -across contact gap -between phases |
Hz kV kV kV |
50 275 275(or 230+70) 275 |
|
Rated lightning impulse withstand voltage (1.2/50μs) : -to earth -across contact gap -between phases |
kV kV kV |
650 650(or 550+100) 650 |
|
Clearance -to earth -across contact gap -between phasesp |
mm mm mm |
1250 1200 1250 |
|
Min. creepage distance -to earth -across the contact gap |
mm mm |
3718 3718 |
*Other value available on order.
The insulating capacity of air decreases as the altitude increases. For installation at altitudes above 1000 m, the dielectric strength of air of the switching device is determined as follows
Rated voltage at erection site (Insulation level) =Rated voltage (Insulation level) /ka
The divisor ka results from

H...altitude in m
m...factor
m=1 for power frequency withstand voltage and lightning withstand voltage as well as switching impulse voltage between phases.
m=0,9 switching impulse withstand voltage across interrupt unit.
m=0,75 for switching impulse withstand voltage to earth.
20 Electrical data
|
Rated voltage |
kV |
145 |
|
Rated frequency |
Hz |
50 |
|
Rated current |
A |
4000 |
|
Rated short-circuit breaking current |
kA |
40 |
|
Transient recovery voltage under terminal fault conditions |
acc. To GB, IEC |
|
|
Rated making current |
kA |
100 |
|
Rated short-circuit duration |
s |
3 or 4 |
|
Operating sequence |
0-0.3 s - CO - 3 min-CO or CO 15s-CO |
25 Operating times
|
Tripping device |
|
Standard |
|
|
Minimum command duration |
ms |
80 |
|
|
Closing time |
ms |
55±8 |
|
|
Opening time |
ms |
22±2 |
|
|
Arcing time |
ms |
≤24 |
|
|
Break time at |
ms |
≤50 |
|
|
Close-open-time |
ms |
30±10 |
|
|
Dead time |
ms |
300 |
35 Arc-quenching medium SF₆
|
Rated voltage |
kV |
145 |
|
Weight per breaker |
kg |
8.1 |
|
Volume per breaker |
dm³ |
176.1 |
|
Nominal pressure at 20°C |
bar |
6.0 |
|
MPa |
0.6 |
|
|
Filter material per pole |
kg |
0.5 |
|
Angaben |
Gauge pressure |
|
|
Alarm "Loss of SF₆" (at 20°C) |
bar |
5.2 |
|
General lockout SF₆ at (20°C) |
bar |
5.0 |
|
Minimum gas pressure for mechanical operating (at 20°C) |
bar |
3.0 |

a SF₆-illing pressure(nominal density line)
b Signal "Loss of SF₆"
c SF₆-general lockout
e Liquefaction curve
Fig.2 - SF₆ filling curve and operating values of density monitor
50 Anti-condensation on triple-pole breaker
Operating mechanism unit and control of the circuit-breaker approx. 90W
Special design on request
The anti-condensation heaters must always be switched on.
55 Auxiliary switch
|
Type |
3SV 92 |
||||
|
Rated voltage |
V[DC] |
220 |
110 |
60 |
48 |
|
Continuous current |
A |
10 |
10 |
10 |
10 |
|
Switching capacity |
|||||
|
Resitive load NO/NC Wiping contact |
A |
2.5 |
5 |
9 |
10 |
|
Ohm-inductive load |
A |
2 |
4 |
7 |
9 |
|
at time constant t |
ms |
20 |
20 |
20 |
20 |
70 Breaker weights
Transport sheet
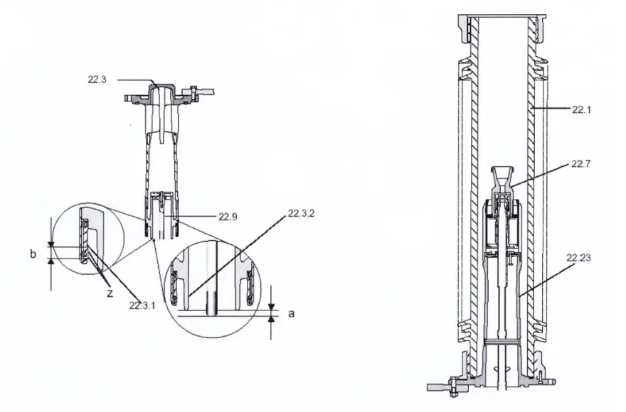
0410 Circuit-Breaker
The three pole columns rest on a common breaker base 11 (Fig.1). The pole columns are filled with SF₆ for arc-quenching and insulating purposes.

11 Breaker base 16 Post insulator 18 Operating mechanism unit 22 Interrupter unit
Fig.1(a) Triple-pole circuit-breaker, pillar-mounted (with density monitor and pressure gauge separately)
Fig.1(b) Triple-pole circuit-breaker, pillar-mounted (with integrated density monitor and pressure gauge separately)
The three pole columns are connected by tubes to a gas compartment. The density of the SF₆-gas in this compartment is monitored by a density monitor and the gas pressure indicated by a pressure gauge.
The gas compartment with integrated density monitor B4 and pressure gauge is available on order.
The breaker has a spring drive mechanism located in the operating mechanism unit 18 fastened to the breaker base 11. The energy required for switching is stored in one closing spring common to all three poles and one opening spring. The closing and opening springs are located in the operating mechanism unit.
The pole column B is actuated by the spring drive mechanism via a corner gear and is connected with the corner gears of the columns A and C by means of coupling rods.
The mounting plate integrated in the operating mechanism unit 18 contains all equipment for control and monitoring of the breaker and also the terminal blocks required for electrical connections.
0510 Pole Columns
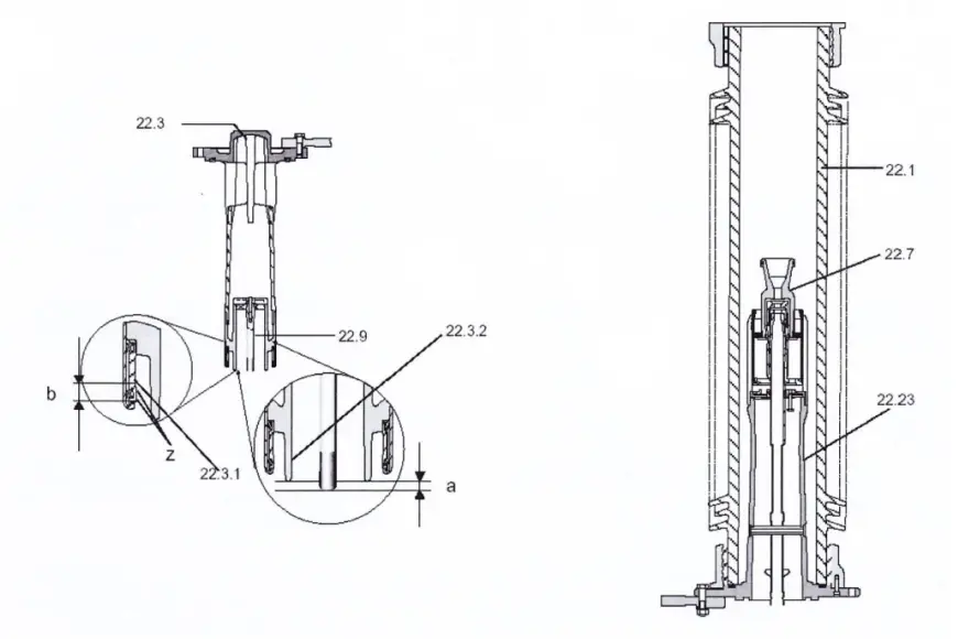
The three pole columns of the circuit-breaker are of identical design. Fig.1 shows a sectional view of the pole column. The interrupter unit 22 is mounted on the post insulator 16, which provides insulation against earth.

15 Corner gear
15.8.3 Shaft
15.9 Lever
15.16.3 Filter bag
16 Post insulator
16.9 Operating rod
18.27.1 Operating mechanism rod
22 Interrupter unit
22.1 Jacket
22.22 High-voltage terminal
Fig.1 Sectional view of a breaker pole
The switching movement is transmitted from the spring drive mechanism (at earth potential) via an operating linkage 18.27.1, the shaft 15.8.3 and the operating rod made of insulating material 16.9 to the interrupter unit 22 (at high-voltage potential).
The corner gear 15. contains the filter material 15.16.3 which collects decomposition products and moisture residue.
0810 Interrupter Unit
Fig.1 shows a sectional view of an interrupter unit. The breaker contacts are accommodated in the gas-tight porcelain jacket 22.1.

22.1 Jacket
22.3 Contact finger
22.9 Pin
22.11 Tube contact
22.11.1 Arc-quenching nozzle
22.11.17 Piston
22.11.18 Valve plate
22.11.19 Valve group
22.17 Pull rod
22.22 High-voltage terminal
22.23 Base
22.29 Sealing ring
22.31 Contact carrier
22.41 Heat cylinder
Fig.1 Interrupter unit
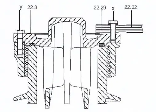
The main current path is made up of the upper terminal 22.22, the contact carrier 22.31, the contact fingers 22.3 arranged in a ring in the contact carrier 22.3, the heat cylinder 22.41, the base 22.23 and the lower terminal 22.22.
The contact fingers 22.3 are pressed centrally inwards at both ends by a helical spring, producing the necessary contact pressure on the contact carrier 22.31 and the heat cylinder 22.41.
Run parallel to the main current path is the arcing current path which is made up of the pin 22.9 located in the contact carrier 22.31 and the moving arcing contact 22.11 located in the heat cylinder 22.41.
The pin 22.9 and the tube contact 22.11 are made of materials which produce only minimal contact erosion.
The tube contact 22.11, the piston 22.11.17 and the heat cylinder 22.41 are mechanically interconnected and coupled with the pull rod 22.17. They form the moving part of the interrupter unit.
The rear side of the piston 22.11.17 is equipped with a valve plate 22.11.18 which together with the valve group 22.11.19 makes up the compression unit for arc quenching.
The breaking process in the interrupter unit is described in a schematic diagram in the section 3-1010 Arc-Quenching.
1010 Arc Quenching
In the first step in the opening operation, the main contact, consisting of the contact fingers 22.3 and the heat cylinder 22.41, are opened (Fig. 1b). The arcing contact, consisting of the pin 22.9 and the moving arcing contact 22.11, is still closed so that the current commutates to the arcing contact.

22.3 Contact finger
22.9 Pin
22.11 Moving arcing contact
22.11.1 Arc-quenching nozzle
22.11.17 Piston
22.11.18 Non-return valve
22.11.19 Valve group
22.41 Heat cylinder
Fig.1 Schematics of opening operation
a) Closed position
b) Opening: main contact in open position
c) Opening: arcing contact in open position
d) Open position
During the continued course of the opening operation, the arcing contact opens creating an arc (Fig.1c). At the same time, the heat cylinder 22.41 moves downward and compresses the quenching gas between the heat cylinder and valve group 22.11.19. This causes the quenching gas to be forced in the direction opposite to the movement of the moving contact components, through the non-return valve 22.11.18 into the heat cylinder and through the gap between the moving arcing contact 22.11 and arc-quenching nozzle, thus quenching the arc.
With large short-circuit currents the quenching gas surrounding pin 22.9 in the arcing chamber is heated by the arc's energy and driven into the heat cylinder 22.41 at high pressure. When the current passes through zero, the gas flows back from the cylinder through the jet and quenches the arc. When this happens, the non-return valve 22.11.18 in the heating cylinder 22.41 prevents the high pressure from entering the compression chamber between piston 22.11.17 and the valve group 22.11.19.
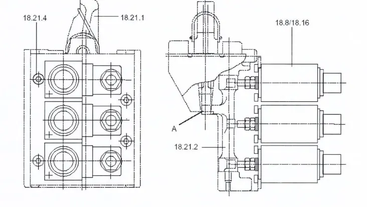
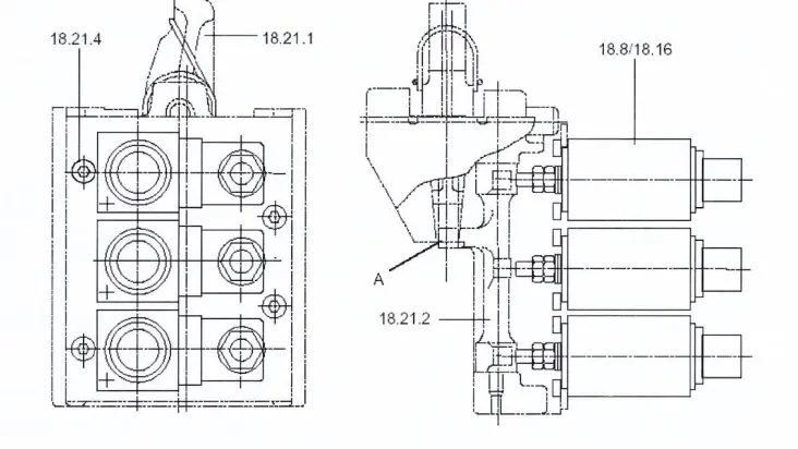
1200 Spring Drive Mechanism of the Circuit-Breaker
This chapter contains a general description of the spring drive mechanism; the function is described.
See Section 3-1205 Function of the Spring Drive Mechanism.
05 Charging the closing spring Circuit-Breaker in open position
The closing spring 18.4 (Fig.1) is charged via the shaft 18.14 and the connecting rod 18.10 by the charging gear 18.2 and the motor 18.1. When charging is completed, the shaft is separated from the gear by means of the latch 18.3, and is latched in turn by the closing latch 18.17. The closing spring 18.4 is now charged for the closing operation, and the pole is thus ready for closing.
10 Closing
The closing latch 18.17 is released by actuation of the trip coil 18.16. The energy of the discharged closing spring 18.4 is transmitted via the cam plate 18.6 to the lever 18.7 and the operating shaft 18.22 connected to it, In the process, the opening spring 18.11 is charged by means of the rotation of the operating shaft 18.22, the operating lever 18.24 and the connecting rod 18.27 The movement of the connecting rod 18.27 along the operating mechanism rod 18.27.1, the torque shaft 15.8 and the operating rod 16.9 is transmitted to the centre interrupter unit 22. This movement is transmitted from the centre pole column to the other two pole columns by means of the coupling linkage 15.9.2. At the same time, the contacts of the interrupter units 22 are closed.
To complete the closing process, the lever 18.7 is secured with the opening latch 18.9. The breaker is now in the closed state and therefore ready to be switched off.
The closing damper 18.41 and the backstop 18.18 absorb the excess energy of the closing spring 18.4 and prevent backswing of the charging shaft 18.14.
The closing spring 18.4 is then completely recharged in less than 15 s. A mechanical lockout prevents switching back on of the operating mechanism before the opening operation.
15 Opening
The opening latch 18.9 is released by actuation of the trip coil 18.8. The contacts of the interrupter units 22. are separated by the opening spring 18.11 via the connecting rod 18.27, the operating mechanism rod 18.27.1 and the coupling linkage 15.9.2 The motive energy at the end of the opening operation is absorbed by the damper (for opening) 18.15. The damper 18.15 also functions as end stop of the opening movement.
20 Operating Sequence
In the closed position of the breaker, the opening and closing springs are in charged state. This means the circuit-breaker is in a position to perform O-C-O switching sequences.
1205 Function of the Spring Drive Mechanism
The function of the spring drive mechanism is described below in conjunction with the major modular assemblies.
It is advisable to have read beforehand Section 3-1200 Spring Drive Mechanism of the Circuit-Breaker.
05 Charging the closing spring
Starting position: the breaker is in the open state. The closing and opening spring are relaxed, i.e. a switching operation is not possible.
The cam disc 18.6 and the connecting rod 18.10 are at the lower dead centre point. The fixed coupled levers 18.7 and 18.24 are in the open position (Fig.1).
To charge the closing spring, the charging shaft 18.14 is rotated by means of the charging motor 18.1 and gears 18.2. The free-wheel 18.3 engages in the cam of the charging shaft 18.14 (Fig.2) and rotates it as far as the upper dead centre point.
The charging shaft 18.14 is then turned as far as the closing latch 18.17 more quickly by the effect of the partly relaxed closing spring 18.4 than by the freewheel, i.e. the form-fit between the free-wheel of the charging gear and the charging shaft is cancelled and the charging shaft outpaces the charging gear. Before the cam plate 18.6 is stopped in the position 10° beyond the upper dead centre by means of the roller 18.23 and the closing latch 18.17 (Fig. 3), the cam 18.19 fixed to the mechanism housing disengages the free-wheel 18.3 from the charging shaft 18.14 (Fig. 4). Charging shaft 18.14 and gear 18.2 are thereby separated. The motor is shut down automatically at 10° beyond the upper dead centre and runs down with the gearing.
The closing spring is charged and the operating mechanism ready for the closing process.

18.4 Closing spring
18.4.1 Spring washer
18.6 Cam disc
18.7 Lever
18.7.1 Roller
18.8 Trip coil "Open"
18.9 Opening latch
18.9.1Supporting latch
18.9.2Support lever
18.10 Connecting rod (for closing spring)
18.11 Opening spring
18.14 Charging shaft
18.15 Damper (for opening)
18.16 Trip coil "Close"
18.17 Closing latch
18.17.1 Lever
18.19 Cam
18.22 Operating shaft
18.23 Roller
18.24 Operating lever
18.27 Connecting rod (for opening spring)
18.27.1 Operating mechanism rod
18.31 Mechanical closing interlock
18.41 Damper (for closing)
18.41.1 Roller
22 Interrupter unit
Fig.1 Function diagram of On and Off latching: Open state, closing and opening spring relaxed

18.1 Motor 18.2 Charging gear 18.3 Free-wheel 18.14 Charging shaft 18.20 Cam
Fig. 2 Function of the free-wheel:Uncoupling the charging gear

18.4 Closing spring 18.6 Cam disc 18.14 Charging shaft 18.17 Closing latch 18.23 Roller 18.31 Mechanical closing interlock
Fig.3 Function diagram of On and Off latching: Open state,closing spring charged

18.2 Charging gear 18.3 Free-wheel 18.14 Charging shaft 18.20 Cam
Fig. 4 Function of the free-wheel:Uncoupling the charging gear
10 Closing process
Actuating "CLOSE" tripping coil 18.16 releases cam disk 18.6 via CLOSE latch 18.17 and supporting lever 18.17.1 (Fig.5).

18.6 Cam disc 18.16 Trip coil "Close" 18.17 Closing latch 18.17.1 Lever
18.23 Roller
Fig.5 Function diagram of On and Off latching: Disengagement of the closing latch
The effect of the closing spring turns the charging shaft 18.14 (Fig. 6). The roller 18.7.1 of the lever 18.7 moves along the cam 18.6 and transmits the movement to the operating shaft 18.22. The movement is then transmitted by the lever 18.24 (fixed to the operating shaft 18.22) via the connecting rod 18.27 and the operating mechanism rod 18.27.1 to the interrupter unit 22. The contacts of the interrupter unit 22 are closed.

18.6 Cam disc 18.7 Lever 18.7.1 Roller 18.9 Opening latch 18.9.1 Supporting latch 18.11 Opening spring 18.14 Charging shaft 18.22 Operating shaft 18.24 Operating lever 18.27 Connection rod(for opening spring) 18.27.1 Operating mechanism rod 22 Interrupter unit
Fig. 6 Function diagram of On and Off latching:Closing
At the same time the opening spring 18.11 is charged by way of the operating lever 18.24 and the connecting rod 18.27. The opening latch 18.9 moves along the roller of the latch lever 18.9.1 (Fig.6). At the end of the curve, the lever 18.7 overtravels, with the result that the opening latch 18.9 can drop behind the roller of the latch lever 18.9.1(Fig.7).

18.6 Cam disc 18.7 Lever 18.7.1 Roller 18.9 Opening latch 18.9.1 Supporting latch 18.19 Cam 18.41 Damper (for closing) 18.41.1 Roller
Fig.7 Function diagram of On and Off lathing: Overtravel of the lever
On completion of the closing cycle, cam 18.19 will run on roller 18.141.1 and transfer its residual kinetic energy to "CLOSE" damper 18.41 (Fig.7).Following this, roller 18.41.1 will jump behind cam 18.19 to prevent backward swinging of charging shaft 18.14(Fig.8).
When it leaves the cam 18.6, the lever 18.7 turns back a little in the opening direction, until the opening latch 18.9 is resting on the roller of the latch lever 18.9.1 (Fig. 8).The circuit-breaker is now latched in the closed state.

18.6 Cam disc 18.7 Lever 18.9 Opening latch 18.9.1 Supporting latch 18.19 Cam 18.41.1 Roller
Fig.8 Function diagram of On and Off latching: Latching in the closed position

18.17.1 Lever 18.4 Closing spring 18.14 Charging shaft 18.15 Damper (for opening) 18.17 Closing latch 18.31 Mechanical closing interlock
Fig.9 Function diagram of On and off latching: Latching of the charged closing spring
As the closing process takes place,the charging motor is switched on. The charging of the closing spring is repeated according to paragraph 05 Charging the closing spring.
Subsequently the charging shaft must be latched to top dead centre with the charged closing spring (Fig. 9).Mechanical closing lock-out 18.31 prevents unintentional starting of the operating mechanism before the opening cycle by blocking supporting lever 18.17.1 (see Fig.9).
The closing and opening springs are charged and the circuit-breaker is consequently ready for an O-C-O switching sequence.
15 Opening process
Actuating "OPEN" trip coil 18.8 releases "OPEN" latch 18.9 via supporting latch 18.9.1 and supporting lever 18.9.2. Operating lever 18.24 and lever 18.7 are withdrawn by opening spring 18.11 over connecting rod 18.27 to the OPEN position (Fig. 10). The contacts of interrupter unit 22 are simultaneously shifted to the OPEN position over operating mechanism rod 18.27.1.
At the end of the opening movement the kinetic energy is absorbed by the damper (for opening) 18.15. The damper serves also as end stop.

18.7Lever
18.8Trip coil "Open"
18.9Opening latch
18.9.1Supporting latch
18.9.2Support lever
18.11Opening spring
18.15Damper (for opening)
18.24Operating lever
18.27Connecting rod (for opening spring)
18.27.1Operating mechanism rod
22Interrupter unit
Fig.10 Function diagram of On and Off latching: Disengagement of the opening latch
1510 Control
The operating mechanism unit (Fig. 1) contains all components required for operation, monitoring and control of the circuit-breaker. The individual devices are arranged together in function groups, and the electrical connections made by screws or by plug and socket.
05 Design
Fig.1 shows the interior of the operating mechanism unit.


(b)
1.1 Equipment mounting plate
1.2 Climate-proof, ventilated and heated operating mechanism housing, degree of protection IP 55
18.4 Closing spring
18.11 Opening spring
H Operating cycle counter
K Contactors, time relays
R Heating (preventing condensation formation)
S Local control
Fig. 1(a) Control in the operating mechanism unit (with density monitor and pressure gauge separately)
Fig. 1(b) Control in the operating mechanism unit (with integrated density monitor and pressure gauge)
10 Spring winding mechanism
The spring winding mechanism consists of the motor and the charging gear. The spring state indicators (symbols) are on the spring cups and will be shown by intelligible symbols.
For details see Section 3-1200 Spring Drive Mechanism of the Circuit-Breaker.

18.1 Motor
18.16 CLOSE trip coil
18.8 OPEN trip coil
a) Spring is charged
b) Spring is not charged
Fig.2 Spring drive mechanism
15 Gas monitoring
The gas compartment to be monitored (Fig.3) in the circuit-breaker encompasses the three pole columns, each with a non-return valve, a density monitor B4 and pressure gauge, the filling connection W1, the test connection W2 and piping for connecting the components. The gas compartment with integrated density monitor B4 and pressure gauge is available on order.

B4 SF₆Density monitor W1 Filling connection W2 Test connection MA Pressure gauge
Fig.3(a) Diagram SF₆ monitoring (with density monitor and pressure gauge separately)
Fig.3(b) Diagram: SF₆ monitoring (with integrated density monitor and pressure gauge)
The connection W1 (Fig.5) for filling the breaker with SF₆ gas is in the operating mechanism unit (with density monitor and pressure gauge separately), the connection W1 (Fig.5) is located above the operating mechanism unit (with integrated density monitor and pressure gauge). The test connection W2 is located above the operating mechanism unit.
20 Density monitor
The density of the SF₆ quenching medium in the gas compartment is checked by a monitor B4 (Figs.4 and 6). The SF₆ filling curve and the response values of the density monitor are shown in Section 3-0080 Technical Data.
25 Function of the density monitor
Separate Density Monitor (Fig.4a):
The density monitor compares the density of the SF₆-gas in the compartment to be monitored with the density of reference gas enclosed inside the monitor. Both gases are exposed to the same ambient temperature. The density comparison is replaced by a pressure comparison in both systems (gas compartment - reference compartment).
The density monitor responds to a change in pressure as a result of a leak between breaker gas compartment and atmosphere.Changes in pressure due to temperature changes are ignored.
The density monitor is set at the works to the limit density required. Resetting is neither necessary nor possible.
Density Monitor (Fig.4b) integrated pressure gauge:
Snap-action contact SF₆ gas density monitor is a modified pressure gauge with signal output. SF₆ Gas density monitor integrates measurement and switching functions.
Alarm functional points: Magnetic snap-action contact is also auxiliary power switch. The entire power circuit is disconnected or connected by activating the contact when the preset limit value is reached through internal pointer mechanism.
The impact of temperature on SF₆ gas density is balanced by a compensation system.

5.00 Bellows/Bourdon tube
5.10 Microswitch/Snap-action Contact
5.20 Housing
5.30 Breaker gas compartment
5.40 Reference gas compartment/Bimetal
5.50 Dial
5.60 Pointer
5.70 Core
Fig.4(a) Schematic diagram of the density monitor (with density monitor and pressure gauge separately)
Fig.4(b) Schematic diagram of the density monitor (with integrated density monitor and pressure gauge)

W1 Filling connection
Fig.5(a) Filling connection W1 (with density monitor and pressure gauge separately)
Fig.5(b) Filling connection W1 (with integrated density monitor and pressure gauge)

W2 Test connection B4 Density monitor
Fig.6(a) Test connection W2 (with density monitor and pressure gauge separately)
Fig.6(b) Test connection W2 (with integrated density monitor and pressure gauge)
30 Functions
The individual circuits are explained in the order of their appearance in the circuit diagram.
General lockout SF₆
A general lockout SF₆ prevents any switching of the circuit-breaker if the SF₆ pressure is too low.
Closing lockout
The closing lockout prevents the circuit-breaker from being switched on while the closing spring is being charged. Anti-pumping feature
The anti-pumping device of the circuit-breaker ensures that it is not repeatedly opened and closed in the event of simultaneous ON and OFF commands.
35 Motor control
The switching energy of the circuit-breaker is stored in a closing spring and an opening spring.
40 Anti-condensation unit
To protect sensitive components from condensed water during rapid temperature changes, the units are always fitted with heating resistors. Because condensation can take place at any ambient temperature, these resistors must always be in continuous operation.
45 Signals
Signals are information on the condition of the circuit breaker.
50 Free auxiliary switch contacts
Additional free auxiliary switch contacts are available for customer's purposes.
55 Counter
The circuit-breaker is equipped with a counter H (Fig. 1). This counts the number of switching operations performed.
0080 Safety Rules for Installation
WARNING
There is a possible danger for the assembly personnel by -hazardous voltage
-gas pressure in pole columns 0.5 bar
-SF₆-gas
-falling and/or toppling parts and/or moving parts.
Non-compliance with safety regulations can result in death, severe personal injury and substantial damage to property and the environment.
In order to avoid accidents, fire and impermissible burdens on the environment and in order to assure the functional reliability of the switchgear, the user must ensure that:
-a responsible person, if necessary authorized to supervise, is put in charge of performance of commissioning.
only qualified and instructed personnel are assigned, the regulations and instructions for work safety (e.g. in the use of equipment), together with instructions on action to be taken in the event of accidents and fire, are available at all times and if necessary displayed in the place of work, the tools, equipment and apparatus required for work safety and the personal protective equipment required for certain tasks are available,
-only those materials, lubricants and auxiliary equipment approved by the manufacturer are used.
The safety regulations in these operating instructions are minimum requirements. They do not affect statutory laws, standards, specifications or internal regulations of the company concerned with the work. They do not claim to cover all eventualities and must be expressed concretely by the responsible persons at the latest before work actually starts. In addition to company internal rules and the specific work conditions, the product descriptions and instructions for use of tools, devices, apparatus, materials, lubricants and auxiliary equipment must be taken into account.
The following safety regulations provide an overview of the dangers existing and their sources, and describe the possible consequences if the rules specified are not complied with. They are expressed more exactly in the operating instructions.
WARNING
Hazardous voltage - Electric shock and burning as a result of arcing are possible if live parts are approached.
If high voltage is present in the vicinity at the place where work is to be done, a responsible person from the power supply utility must, before work starts:
-switch off and isolate
-prevent unintentional switch-on
-test that equipment is dead
-ground and short-circuit the equipment
-cover or fence off nearby live parts
It must be confirmed that these safety measures have been taken.
WARNING
The pole columns are under pressure (see technical data) - Damage to the porcelain parts can result in severe personal injury.
Do not allow any tools or hoisting gear to knock against the porcelain parts.
Do not lean any ladders against the pole columns; use step ladders.
Attention
SF₆ is heavier than air. In closed areas it may displace the air - Danger of suffocation!
Use a service unit for all work with SF₆ gas. Extract the SF₆ filling; do not let it escape into the air.
0205 Delivery and Storage
Attention
Danger of bursting if porcelain bodies are damaged. Severe personal injury can result.
Avoid damaging the porcelain bodies.
The pole columns are filled for dispatch with SF₆ gas at 0.3...5 bar / 0.03..0.05 MPa / 4.5...5 psig.
05 Packing
The breakers are supplied as pretested modular assemblies.
The parts contained in the crate are shown individually on the check list included with each breaker.
SF₆ gas is supplied in cylinders.
The breaker frame with operating mechanism and control unit is completely assembled. All springs are relaxed. The three pole columns are filled with SF₆ to transport pressure.
The electrical breaker control is ready wired, to the terminal strip in the cubicle.
10 Checking on arrival
When a shipment arrives it should be checked immediately against the dispatch notes and check list. If it shows signs of damage determine the extent of the damage and its probable cause without delay. Should the damage have been caused in transport, call in a representative of the forwarding agent in order to record the facts. This is an essential requirement if a claim for damages is to be submitted.
15 Storage
If a breaker is not to be assembled immediately after delivery, the crates can be stored outdoors.
For better ventilation and as a protection against ground dampness, the crates should then be placed on wooden planks and covered with tarpaulins.
Note
During storage the anti-condensation heater in the operating mechanism unit must be switched on.
Run the cable in the cubicle through the cable panel and connect the auxiliary voltage supply to the appropriate terminals (according to the circuit diagram)
Note
Note the anti-condensation heater rated voltages.
After one year's storage, the surfaces treated with Tectyl 506 should be given a thick second coating.
Before storing the accessory items, check their plastic wrapping for signs of damage. If the plastic foil has sustained damage, unpack the parts and store them in a dry, ventilated room.
2080 Cleaning Liquids, Lubricants and Corrosion Protection Agents
05 Cleaning Agents For cleaning and degreasing metal parts and sealing rings use any of the following (not included in the scope of supply).
Attention
Improper operation can result in personal injury, fire and environmental damage
In the interest of safety, follow instructions for use of cleaning liquids carefully.
|
Sample Applications |
Cleaning Agent |
Instructions |
Safety instructions |
|
Outer surfaces / minor dirt. |
Warm water solution with a mild household cleaning liquid, e.g. "Pril" |
Wipe off with a damp lintfree paper or cloth. Avoid drips. Do not let solution get into openings and gaps. |
|
|
Outer surfaces, parts / greasy surfaces, surfaces coated with anticorrosion agent (Tectyl 506), sealing rings |
Cold-application cleaning agent, hydrocarbon basis flash point >55 C, e.g. Shellsol D60 (Shell) Essovarsol 60 (Esso) Aral 4005 (Aral) HAKU 1025/920 (Kluthe) |
Wipe off with a damp lintfree paper or cloth.Avoid drips.Wipe clean with a dry, lint-free paper or cloth. Immerse smallparts if necessary.Do not immerse sealing rings in agent. |
Fire hazard! No smoking! Read product descriptions and follow relevant safety instructions. |
|
Insulating parts in SF₆-compartments |
Athanol Isopropanol Haku 5067 (Kluthe) |
Wipe off with a damp lintfree paper or cloth.Avoid drips. |
Fire hazard! No smoking! Explosion protection necessary! Read product descriptions and follow relevant safety instructions. |
10 Lubricants and corrosion protection agents
The following lubricants and corrosion protecting agents are required for installation and maintenance the breakers:
Kluber grease Centoplex 24 DL
for all lubricating points and non-hot-galvanized screws, unless another brand of lubricant is specified.
Isoflex Topas L32
for radial sealing rings and rolling contact bearings of the SF₆ shaft seal on the corner gear and the operating mechanism.
Shell vaseline 8420
for sealing rings and terminal faces for high-voltage cables.
WD40 Trost Multifunktionsol
for flange faces inside the sealing rings, including the slots and for flange faces of the gas pipe union nuts.
Tectyl 506
for flange faces outside the sealing rings and for clamping sleeves.
Molykote Longterm 2 plus
for the threads of all hot-galvanized screws.
Castor oil or Jokisch S 101 oil
for austenitic steel couplings.
2110 General Instructions for Installation
For assembling the breaker use only the bolts supplied. Spare bolts are included in the accessories pack, in case any are lost during assembly work. WARNING
If unsuitable bolts are used, they can malfunction and cause severe personal injury.
If the number of bolts supplied for the pressure vessels is insufficient, spare bolts must be ordered from the factory only.
Grease the threads of all hot-galvanized bolts with Molykote Longterm 2 plus.
Attention
Unchecked tightening can result in damage to or loosening of bolt joints.
Use torque wrench for assembly. Tightening torque see below.
Bolts are of 8.8 grade or higher.
e. Minimum tensile strength 800 N/mm²
Minimum yield strength 640 N/mm²
Necessary torque for screwed joints:
M6: 8±1 Nm
M8: 20±2 Nm
M10: 40±4 Nm
M12: 70±7 Nm
M16: 170+20 Nm
M20: 340±30 Nm
M24: 600±60 Nm
Screw on all union nuts with a tightening torque of 40+4 Nm.
Differing torques are indicated in the text.
Any locking washers and gaskets loosened or exposed during assembly must be replaced.
4010 Installation of the Breaker
WARNING
The control leads must not be connected to the terminal block of the operating mechanism until the breaker has been erected complete with the pole columns.
Assembly on supporting pillars at the place of installation
The breaker should be assembled at the installation location. However, it may also be assembled at another location, e.g. an assembling shop. For the transportation of the completely assembled breaker see chapter 4-4010-45 Transport of assembled breaker.
The pole columns pre-filled with SF₆ gas must be bolted to the breaker base and coupled to the operating mechanism that has been adjusted at the factory.
05 Taking apart the shipping unit First separate the three pole columns in package 1.2 (Fig. 1) from the shipping unit and set it down on a solid surface. Then hook the crane hooks into the lifting eyebolts 1.5.
Loosen the four M16 nuts at the fixing point between the bracket 1.3 and the wooden beams 1.6.
Move the three pole columns in the package with a crane and set them down on the brackets 1.3 on a solid surface, but do not unhook the pole column package.

1.1 Breaker base with operating mechanism unit
1.2 Package of three pole columns
1.3 Bracket
1.4 Connecting plate
1.5 Lifting eye plate
1.6 Wooden beam
Fig.1 Shipping unit 4-8
Taking apart the package of pole columns
Take apart the package of three pole columns as shown in Fig.2 and set the individual poles down on a solid surface, making sure you stand them on the transport plates.

Fig.2 Separating the pole columns
10 Moving the breaker base and operating mechanism unit with a crane

3.1 Breaker base
3.2 Transport frame
3.4 Operating mechanism unit
3.5 Lifting eye-bolt
3.6 Cover plate
3.7 Wooden beam
3.8 Rating plate
Fig.3(a) Breaker base with operating mechanism unit (with density monitor and pressure gauge separately)
Fig.3(b) Breaker base with operating mechanism unit (with integrated density monitor and pressure gauge)
Insert the crane hook of the suspension gear into the lifting eye-bolts 3.5 (Fig. 3) of the breaker base and lift the breaker base together with the operating mechanism a small amount.
Release the two transport frames 3.2 (Fig. 3) together with the wooden beam 3.7 from the breaker base one after the other and set them to one side.
Move the breaker base together with the operating mechanism unit using a crane and set it down on the supporting pillars of the foundation. Bolt together in the horizontal (use a spirit level) with 8 bolts and nuts (M16).
Note
The rating plate 3.8 on the operating mechanism unit identifies the front side of the circuit-breaker.
20 Leak test on the pole columns
Before placing the pole columns on the base, the SF₆ priming filling of the individual pole columns must be checked.
Undo the locking nut 6.2 (Fig.5) with O-ring gasket 6.3 from the flange 6.1 of the corner gear 15. and briefly by hand push the non-return valve 6.4 in the flange against the force of the valve spring. The escaping gas produces a hissing noise. Then reseal the flange 6.1.
If no hissing noise is audible, there could be transport damage.

6.1 Flange
6.2 Locking nut
6.3 O-ring gasket
6.4 Valve plunger (non-return valve)
15 Corner gear
Fig.4 Flange with non-return valve
25 Installation of pole columns and coupling of the operating mechanisms
Attention
There is a danger of damaging the corner gears when erecting the pole columns. Place wood underneath (see Fig.5).
Never lean ladders up against the upright pole columns. Always use step ladders.
Erection of pole column B
Pole column B is the pole column with a double level 15.9 on the corner gear (Fig.5).

1.4 Connecting plate
1.6 Lifting eye plate
1.7 Lifting eye plate
1.8 Lifting eye-bolt
13 Wood
15 Corner gear
15.9.03 Double lever
Fig.5 Erect the pole column (illustration shows upper pole column of the package)
Unscrew and detach the two lifting eye plates 1.6 and 1.7. Replace only the two screws removed from Pos. 1.7 by new screws M16x55 from the accessory pack.
Before erecting the pole column, set it on a piece of wood. This will prevent damage from occurring when the column is tilted. The pole column can now be carefully raised by the two slanted lifting eyes 1.8.
In order to prevent the pole column from slipping away during erection, make sure that the crane hook and the pole column head are vertically aligned.
Now upper connecting plate 1.4 can be unscrewed and detached. Insert screws M16x55 from the accessory pack into the threaded holes.
When the pole column has been raised clear of the lower connecting plate, the latter can also be removed. Now carefully insert the pole column into the centre recess of the base.
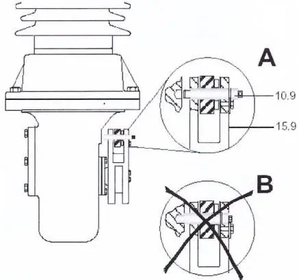
The pole column is delivered with the bolt at the "OPEN" position. To couple the operating mechanism, bolt M6 10.1 (Fig.6) with the lock washer on lever 15.9.03 must be removed and bolt 10.9 pulled out. Then push operating mechanism rod 15.9.1 into the lever and couple with bolt 10.9.
Then tighten the four bolts M16x60 for connecting the pole column with the breaker base.

10.1 Bolt with lock washer 10.9 Bolt 15.9.03 Double lever 15.9.1 Operating mechanism rod
Fig.6 Couple operating mechanism/ marking position
Now loosen the two slanted lifting eyes at the top of the pole column and replace the screws with new screws M16x55 or M16x25 to be found in the accessory pack. Use the appropriate screws to attach the slanted lifting eyes to the pole column to be assembled next.
Assemble the two other pole columns in the same way, using the original screws after dismantling the lifting eyes.
Remove the transport parts at pole column A in the same way as with pole column B, erect the pole columns and insert in the opening of the breaker base; first tighten the screw connection of the corner gear and breaker base only slightly, as the pole column must later be aligned.
Proceed analogously with pole column C.
At the corner gear for pole B, remove bolt M6 10.1 (Fig. 7) with lock washer and attach coupling rods to lever 15.9.03 corresponding to Fig. 10. Bring bolt 10.9 Fig. 10 back into marking position (Fig.8).
At corner gear for poles A and C remove bolt M6 10.1 (Fig.7) with lock washer and pull out bolt 10.9.
10.1 Bolt with lock washer
10.3 Washer A13 (DIN 9021)
10.9 Coupling bolt
15.9.01 Lever A
15.9.02 Lever C
15.9.03 Double Lever B
15.9.21 Coupling rod B-A
15.9.22 Coupling rod B-C
Fig.7 Arrangement of coupling rods/ breaker marked in open position
Now couple coupling rod 15.9.21 with pole A and coupling rod 15.9.22 with pole C (Fig.7). To do this, slide pole columns A and C into the breaker base so that bolt 10.9 with installed coupling rod can be brought back into the marking position (Fig.8).
Note installation position of the coupling rods in the levers (Fig.7) and for poles A and C in each case insert two washers A13 10.3 between the coupling rod and lever.
Now align pole columns A and C parallel to the outer edges of the breaker base and then tightened to the prescribed torque. All pole columns are now fastened to the breaker base and fixed in the open position by bolt 10.9 in the marking position.
Now bring bolts 10.9 at all three poles in the switch position (Fig.8) and secure there in ring groove with bolt M6 and lock washer 10.1 (Fig.7).

10.9 Bolt
15.9 Lever
A Breaker position
B Marking position
Fig.8 Marking position / switch position
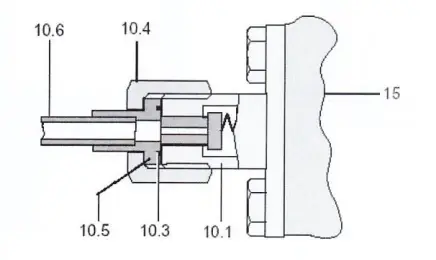
35 SF₆ pipeline fitted
When assembling tube connections ensure clean sealing surfaces and proper condition of the O-ring seals.
An SF₆ line must be connected for each pole column.
To connect the gas pipes 10.6 (Fig.9) to the flanges of the pole columns 10.1, remove the union nuts 10.4 with sealing cap from the flanges 10.1 and make the connections as shown in Fig.9.
First of all align soldering sleeve 10.5 parallel to the surface of the flange on corner gear 10.1 and insert a new O-ring which has been lubricated with Vaseline. Then quickly screw on union nut 10.4 by hand and tighten with a spanner. Screw on union nut 10.4 with a tightening torque of 40 Nm. Vaseline and a new O-ring are to be found in the accessory pack.
Keep the locking screws of the gas pipes and the union nuts with sealing caps of the flanges on the pole columns in a safe place for future transportation and repairs.

15 Corner gear
10.1 Flange
10.3 O-ring gasket
10.4 Union nut
10.5 Soldering sleeve
10.6 Gas pipe
Fig.9 SF₆-pipe, mounted
40 Anti-corrosion protection
When installation of the pole columns has been completed, the hot-dip galvanised bolts, washers and nuts fitted in the course of the work must be coated with protective paint (in the accessories pack).
45 Transport of assembled breaker
If the breaker has not been assembled at the installation site, the following notes should be observed for its transportation from the place where it has been assembled to the installation site:
Attention
For transport the permissible gauge pressure of the gas in the breaker must not be higher than 0.5 bar/0.05 MPa /7.3 psig.
Attention
When the breaker is moved by crane, transport beams must be used as otherwise there is a risk of toppling.

A Upper transport beam
B Lower transport beam
Fig.10(a) Transportation of the fully assembled breaker (with density monitor and pressure gauge separately)
Fig.10(b) Transportation of the fully assembled breaker (with integrated density monitor and pressure gauge)
4110 Earthing and Connecting the Leads
05 Earthing
Connect the breaker base to the high-voltage station earth by means of earth terminals provided.

Fig.1 Mount of the earthing terminals
10 Work on high-voltage terminals
WARNING
High gas pressure - Danger of bursting For safety reasons, work on high-voltage terminals should be carried out at nominal pressure before the breaker is filled with SF₆ gas.
The porcelain insulators should not be exposed to any stress (e.g. from vibration, etc.). Great care should be taken to avoid damaging the porcelain body and fins with tools or handling aids.
Connecting the high-voltage conductors
Brush the contact surfaces of the connector plates with a steel wire brush, which has only been used for aluminium, until they are bright and slightly roughened. Wipe the contact surfaces off with lint-free paper or cloth and lightly coat them with acid-free Vaseline, e.g. Shell Vaseline 8420.
If using copper connector plates, Kupal spacers must be employed.
Positioning the connector plates
If required, the connector plates may be offset by 180. Thereby observe Fig.2, brush and lubricate the mounting surfaces as described above.

22 Interrupter unit 22.22 High-voltage-terminal
Fig.2 Mounting the connector plates
The connection of the high-voltage conductors at SF₆ nominal pressure is possible in exceptional cases, provided the warning notes are observed.
15 Connecting the control cables
WARNING
Make sure that the control cables are dead.
Run the control cables into the control unit through the compression glands provided and connect the cables to the terminal strip as shown in the circuit diagram. Connect the protective conductors to the earthing terminal provided. Retighten the cable compression gland.
Note
Even if commissioning is to occur later, the anti-condensation heaters must be connected.
See Section 4-0205 Delivery and Storage.
4130 Filling the Breaker with SF₆ Gas
05 Using gas from cylinders
Siemens offers a complete filling device of type W 423 for filling the breaker with SF₆ gas from a gas cylinder (Fig.1).
The breaker may be filled only by appropriately qualified personnel, and in accordance with the SF₆ filling curve.
See 3-0080 Technical Data.
WARNING
High gas pressure - Danger of bursting
Exceeding the permissible filling pressure can cause the pole columns to burst, resulting in severe personal injury and damage to property.
The filling device must include a safety valve (operating pressure 8 bar/0.8 MPa/116 psig). The safety valve prevents the pressure compartments from being overstressed due to an impermissibly high pressure.

Fig.1 SF₆ filling device W 423
To pour in gas, connect the hose of the filling device to the filling flange W1 of the breaker (Fig.2 and 3).
To prevent the gas cylinder from icing up, use the handwheel on the regulation valve to regulate the flow gas.
Care must be taken that the filling pressure, which depends on the ambient temperature (see rating plate with information about the filling pressure at 20 °C), is correct.

Fig.2(a) Filling flange W1 (with density monitor and pressure gauge separately)
Fig.2(b) Filling flange W1 (with integrated density monitor and pressure gauge)

1 Gas cylinder 2 Pressure reducer regulating value 3 Pressure gauge (0-10bar) 4 Safety value
W1 Filling connection
Fig.3(a) SF₆ filling device connected (with density monitor and pressure gauge separately)
Fig.3(b) SF₆ filling device connected (with integrated density monitor and pressure gauge)
SF₆ filling curve and operating values of density monitor.
See Section 3-0080 Technical Data.
At an ambient temperature other than +20 °C, the SF₆ filling pressure must be adjusted according to the diagram.
The filling pressure may be up to 0.3 bar/0.03 MPa/ 4.4 psi over the nominal pressure curve (temperature-independent).
When filling is completed, unscrew the filling device and close the filling flange. Screw on the union nut by hand. Ensure that all parts are clean.
10 Leakage test after installation
When the breaker has been successfully erected and filled with SF₆ gas, the pipe joints must be tested for leaks.
A leak detector must be used.
If a leak is discovered, undo the leaking connection and check the sealing surface for damage or foreign bodies. Then fit a new seal, remake the connection and repeat the leak test.
4210 Perform Test Switching Operations
When installation work is finished, the circuit-breaker is in the open state. The closing spring of the operating mechanism is not charged.
See section 3-1205 Function of the Spring Drive Mechanism.
WARNING
Blocking of the circuit-breaker is possible.
Before the start of a test run it is essential to check that the bolts 10.9 are inserted in the switch position and secured (Fig.1)
Danger of bursting if porcelain bodies are damaged. Severe personal injury can result.
For safety reasons no persons may remain within 60m of the breaker while test operations are being carried out.
Danger of serious mechanical damage
Mechanical test operations must only be performed with sufficient SF₆ gas filling: Pressure must at least be at the level of general lockout SF₆, see Section 3-0080 Technical Data.

Fig.1 Coupling point on corner gear
When the motor control power supplies are switched on, the charging motors automatically start up and stop again when the closing spring has been charged and latched. The operating mechanism is now ready for a closing operation.
Due to the possibility of damage to the porcelain bodies incurred during transit, the first mechanical test runs should be performed as remote-controlled "safety switching operations".
Perform 5 closed - open operations per pole.
4230 Commissioning Checks
Attention
The items listed below (05 to 20) should be strictly followed during commissioning.
05 Anti-condensation heaters
Check the effectiveness of the anti-condensation heating and the function of the existing monitoring device if applicable.
10 Test of wiring between substation and circuit-breaker
Check all command and signaling paths.
9000 Commissioning Report for the Circuit-Breaker
|
Customer: |
Commissioning performed by: |
|
Switchgear: |
Signature: |
|
Interlocking feeder: |
Signature of the supervisor: |
|
Date |
Works serial no.:
SF6 filling pressure at +20 °C, acc. to rating plate: ......bar
Switching duty: Overhead line, transformer, generator, cable, tie circuit-breaker, other .......
|
|
Date/yes/no/ Remarks |
|
Transport damage |
|
|
Breaker base |
|
|
Operating mechanism unit |
|
|
Porcelain |
|
|
Delivery complete acc. to check list |
|
|
Installation |
|
|
Leakage test acc. to "Installation, 20 Leak test on the pole columns" section of operating instructions |
|
|
Breaker base: horizontal installation and tightening torque noted acc. to "Installation, 10 Moving the breaker base and operating unit with a crane |
|
|
Check that the SF₆ pipe couplings are firmly connected, see chapter 24010-35 "Connection of the SF₆ pipes" |
|
|
Make sure that the bolts 10.9 and washers 10.3 are in the right position and the bolts secured by washers. |
|
|
Apply lubricants and anti-corrosion protection (See "Installation", Cleaning liquids, lubricants and corrosion protection agents) |
|
|
Earthing and connecting the high-voltage conductors |
|
|
If commissioning is not performed immediately |
|
|
Disconnect power supply to charging motor at a suitable point |
|
|
Connect circuit-breaker heater |
|
|
Touch up damage to paint finish; apply any necessary additional paint coating acc. to "Installation, 40 - Anti-corrosion protection" |
|
|
Commissioning |
|
|
Set motor circuit-breaker to 1,1 In [A] (if included in the scope of supply) |
|
|
Check that tripping current of MCBs ≥ In [A] (if included in the scope of supply) |
|
|
Heating current (check of the heating) |
|
|
Fill SF₆ system to rated pressure level [bar /°C] |
|
|
Perform 5 ON-OFF safety switching operations at SF₆ rated pressure (by remote control, 60 m safety distance) |
Works serial no.: Schaltplan Nr: ............... Index:
|
Function test |
||
|
OPEN-CLOSE switching operations, lockouts, signals, anti-pumping etc. Check all details acc. to breaker circuit diagram and switchgear control diagram, especially: |
||
|
Closing 1 (Closing 2) |
Opening 1 Opening 2 (Opening 3) |
|
|
SF₆ density monitor |
||
|
Loss of SF₆, B4 / Signal |
||
|
SF₆-Lockout 1, B4 / K10 Signal K10 |
Reclosing lockout 1 (K10) |
|
|
Opening lockout 1 (K10) |
SF₆-Lockout 2, B4 / K26 Signal K26 |
|
|
Reclosing lockout 2 (K26) |
Opening lockout 2 (K26) |
|
|
Operating mechanism |
||
|
Charging motor: Charging time (s ≤15 s) ................... S |
||
|
Signal "Closing spring relaxed" S16 |
||
|
Auto-reclose lockout 1 |
K0//S16 |
K10-S16 |
|
Auto-reclose lockout 2 |
K26//S16 |
K26-S16 |
|
Anti-pumping feature |
K75/K 47 |
|
|
Anti-pumping feature |
K75/K48 |
|
|
Final checks |
||
|
SF₆ leakage test at new connections |
||
|
SF₆ humidity (dew point)* |
............ [°C] |
|
|
SF₆ content * |
............. [%] |
|
|
SF₆ filling |
............ [bar /°C] |
|
|
Date of taking measurements *Measurements not required if gas filled from a cylinder |
........................... |
|
Works serial no.:
Final checks
Leads firmly connected to main terminal
Operations counter reading after completion of work
Remarks
0100 Operation
05 Opening and closing
WARNING
Danger! - High voltage! A circuit-breaker connected to high voltage may only be operated from the control room or from the local control cabinet in the substation.
Switching operations directly at the tripping coil will bypass both the switchgear interlock unit and the SF₆ interlocking.
10 SF₆-gas pressure
The pressure of the SF₆ gas in the pole columns is monitored by density monitor and shown on the respective pressure gauges. The response values of the density monitor are shown.
See Section 3-0080 Technical Data and section 3-1510 Control.
If the SF₆ pressure drops unduly low, a signal, "Loss of SF₆" is initiated. The breaker must then be opened and topped up as soon as possible with SF₆ from a gas cylinder or using the filling device connected to the flange W1 on the gas monitoring unit until nominal pressure is restored. The breaker must be isolated for this. When filling has been completed, the breaker can be put back into operations.
Flange W1 for filling the breaker with SF₆ gas is located inside the operating mechanism cabinet (connecting thread M26X1.5 or M45×2). The operational gas pressure can be read off pressure gauge MA (see Section 1510 Control).
If the above signal is initiated again after some time, the leak must be located and, if possible, sealed. If the leak cannot be sealed, the nearest Siemens representative should be notified.
WARNING
Danger of serious mechanical damage
For test switching operations (in dead state), there must be a minimum SF₆ pressure of 3 bar/0.3MPa/44 psig.
15 General lockout
If the SF₆ pressure in the breaker drops so low that perfect arc-quenching can no longer be ensured, a general lockout becomes effective and blocks all further operation.
20 Mechanical reclosing lockout
If the breaker pole is in the closed state, a mechanical reclosing lock-out in the operating mechanism comes into effect. It prevents the operating mechanism from being switched back on.
25 Max. permissible number of interruptions
The relationship between breaking current, max. permissible number of interruptions is shown in Fig.1.
If the interruptions take place with higher current, the number of possible interruptions decreases as shown in Fig.1.
If the permissible number of opening operations is reached before the next regular maintenance date, the relevant maintenance measure must be implemented in advance thereof.
The chart (Fig.1) relates to one pole of a three-pole circuit-breaker.

Fig.1 Max. permissible number of interruptions as a function of the breaking current
Three times the number of single-pole opening operations may thus result in a three-pole circuit-breaker (e.g.30 single-pole opening operations with 40 kA).
Weight factor k simplifies calculation of the max. permissible number of interruptions at different breaking currents.

nx = Number of remaining permissible interruptions at breaking current x
ki= Weighting factor for breaking current of up to ikA
The maximum number of interruptions still permissible with a given number of operations (with consequent wear) already carried out can be calculated using the above equation.
Example: The circuit-breaker with a rated short-circuit breaking current of 40 kA has performed 250 interruptions with breaking currents of ≤2.5 kA, and 2 interruptions 20 kA.
How many interruptions at 30 kA are still permissible?

A total of 19.5 interruptions at 30 kA are still permissible.
0181 Recommended Procedure in the Event of Irregularities on the Circuit-Breaker
Note
The following table is an aid in recognition and assessment of any irregularities occurring in operation of the circuit-breaker.
WARNING
Work may only be done on the operating mechanism when the opening and closing spring are relaxed.
|
Signal/Lock-out |
Effect |
Possible cause(s) |
Remedial measure(s) |
|
Loss of SF₆ |
Signal only (Leak generally slow) |
Loss of SF₆ |
Locate fault and seal leak. Top up SF₆ to nominal pressure. |
|
General SF₆ lock-out |
No switching possible |
SF₆ leak |
See Loss of SF₆ |
|
General SF₆ lock out if longer than 15 s |
Closing spring not charged, no closing possible |
1. No motor power supply 2.Motor defective |
1. Provide motor supply 2. Replace motor |
0500 Disposing of High-Voltage Switching Devices and Systems
The circuit-breaker is an environmentally compatible product.
In disposal, priority must be given to re-use of the materials. Environmentally acceptable disposal of the device is possible in line with current legislation.
The device can be recycled as mixed scrap, or, if it is dismantled as far as possible, in a more environmentally acceptable way as sorted scrap with a mixed-scrap residual portion.
The following materials have been used to make up the device: Steel, copper, aluminium, PTFE, cast resin or cast-resin-impregnated fabric, glass-fibre-reinforced plastics, rubbers for sealing, ceramics, greases.
Before disposal of the device, care must be taken that the synthetic hydraulic liquid (Anderol BDH 15) in the damper of the operating mechanism is drained off. Official regulations applying at the time of disposal must be complied with.
In as-supplied-by-Siemens state, the device incorporates no hazardous substances in the sense of the pertinent regulations in Germany. If the device is to be operated outside Germany, the locally applicable laws and regulations must be followed.
Insulating and quenching media SF₆ must also be drained off/evacuated by means of customary equipment and, after reconditioning, made available for re use.
In the opened gas compartments, there may be solid decomposition products resulting from switching operations. The gaseous products are absorbed by the built-in filters. When switching devices incorporating SF₆ as insulating and quenching medium are disposed of (with particular regard to filter material and solid decomposition products), the necessary safety measures must be complied with.
Local customer support offices will be able to answer any questions concerning disposal.
0100 Checking and Maintenance - General
The outdoor circuit-breaker can only function reliably if it is correctly maintained. The purpose of inspection and maintenance therefore is:
to determine to what extent certain parts have worn and to assess their state,
to ensure that parts still in good condition are kept in this state,
to replace certain parts in good time (responsibility of the customer product out of warranty)
to ensure corrosion protection.
Inspection and maintenance services are categorized in line with the work involved and designated accordingly.
WARNING
Non-observance of warnings can result in death, severe personal injury and substantial property and environment damage.
05 Inspection services (schedule) and maintenance
The checking and maintenance services scheduled in the table (section 6-0110) are each offered separately by Siemens Representative.
Circuit-breakers which are operated frequently obviously suffer greater wear than circuit-breakers operated only seldom. The following distinction must be made here:
Mechanical wear caused by friction ("mechanical operating cycles") and 6-1
Arc erosion due to the switching of load currents or fault currents.
The wear reserve is calculated so that in most cases the various inspection and maintenance services can be performed at fixed intervals. Only if circuit-breakers of outdoor design are operated especially frequently, might it be necessary to bring forward the corresponding service, because the permissible number of mechanical operations and/or load or fault switching operations has already been exceeded (see section 3-0100 Operation).
10 Assignment of personnel
The inspection and maintenance service may only be carried out by or under the supervision of qualified personnel.
Furthermore, maintenance kits and expendable materials (lubricants etc.) required for maintenance are also supplied.
15 Maintenance kits
Maintenance kits contain various spare parts in the appropriate quantities for the particular service.
It is not recommended to keep a stock of such kits by customer, since some parts, e.g. O-rings, are subject to aging. Other parts may be out of date by the time they are to be used.
20 Initial date for inspection and maintenance service
The starting date for the inspection and maintenance schedule is that at which the filter material is placed in the circuit-breaker, which is then evacuated and filled with gas. This is normally the year of production.
It does not matter whether the gas-filled circuit breaker is put into service or not, following its installation.
The starting date should be recorded in writing and the number of mechanical operations and fault current operations etc. monitored in order to see whether inspection and maintenance should be carried out as a function of time or of wear.
25 Disturbances
In the event of a disturbance apply to the appropriate Siemens office for assignment of qualified personnel, stating the type and extent of the disturbance as accurately as possible and naming any parts that are showing signs of damage. To simplify identification, state the part designations given in the list of spare parts for circuit-breaker (terminology and serial number of the circuit part numbers used, reference to drawings).
30 Points to be noted
The locking elements of any screwed joints opened for inspection must be replaced.
The same applies to all seals and gaskets exposed in the process. All open breaker parts should be covered to prevent the ingress of dirt.
During normal operation no switching dust should result from switching. If dust is found after repeated interruption of high short-circuit currents, proceed as follows:
Any switching dust should be removed immediately when the breaker is opened and any subassemblies have been removed. When this dust is exposed to air for some time it will absorb moisture and can then only be removed with difficulty.
Gloves should be worn.
Remove the dust with use a vacuum cleaner. Do not stir it up unnecessarily. Cloths and switching dust should be disposed of in keeping with environmental regulations.
For the Federal Republic of Germany: Leaflet on "SF₆ equipment" issued by the statutory industrial accident insurance institution for precision mechanics and electrical engineering.
0110 Maintenance Schedule
The maintenance schedule provides an overview of work to be done in the individual checks/inspections. A detailed description of the work steps is given in 6-0200 Work to be Carried Out in Accordance with the Maintenance Schedule. In both chapters, the work steps are referred to by the same numbers.
WARNING
Danger to maintenance personnel can result from:
-hazardous voltage
-operating mechanisms under spring pressure
-gas pressure in the pole columns SF₆ gas and its decomposition products
-falling and/or toppling parts and/or moving parts.
The Safety Rules for Maintenance specified in section 0180 must be followed.
|
Check and inspection and maintenance service |
after time |
Due |
Remarks |
|
after time |
after wear |
||
|
Routine inspection |
12 years |
after 3000 operating cycles I≤ I rated |
Circuit-breaker must be taken out of service and must be isolated. Gas compartments need not be opened. |
|
Major inspection |
25 years |
after 6000 operating cycles I≤ I rated |
Circuit-breaker must be taken out of service and must be isolated. Gas compartments are opened |
|
Contact system check |
permissible number of fault current operations equaled (see 3-100) |
Circuit-breaker must be taken out of service and must be isolated. Gas compartments are opened. |
I rated-Rated normal current
|
Costumer System Feeder |
Date Works serial no. |
|
Name of Inspector |
SF₆-filling pressure at 20°C according to rating plate |
|
Signature |
Switching duty |
|
Countersigned by responsible engineer |
Number of operations |
|
Inspection |
Maintenance |
Work to be done(as described in chapter 6-0200) |
Completed |
|
1 . General control |
|||
|
X |
2. Drawing off the SF₆-Gas |
||
|
X |
3.1 Open all interrupter units and remove the contact tubes |
||
|
X |
3.2 Visual check of contact system |
||
|
X |
3.3 Reassemble interrupter unit |
||
|
X |
3.4 Replace filters |
||
|
X |
4. Evacuate circuit breaker and fill with SF₆-Gas |
||
|
X |
5. Check of breaker pressure gauge for SF₆-Gas |
||
|
X |
6.1 Check function of density monitors |
||
|
X |
6.2 Check operating values of density monitors |
||
|
X |
6.3 Leak test on circuit breaker ready for operating |
||
|
X |
X |
Check on operating mechanism |
|
|
X |
Checks of electrical connections |
||
|
X |
X |
Check anti-condensation protection |
|
|
X |
X |
10.1 Function check of trip circuits |
|
|
X |
X |
10.2.1 Function check of trip circuits |
|
|
X |
X |
10.2.2 Check of general lockout SF₆ |
|
|
X |
X |
10.3 Function check oaf anti-pump |
|
|
X |
X |
11 Check of motor control |
|
|
X |
12.1 Check SF₆gas moisture content |
||
|
X |
12.2 Measure SF₆air content |
||
|
X |
X |
Check anti-corrosion (touch up if necessary) |
0180 Safety Rules for Inspection and Maintenance Service - General
WARNING
Danger to maintenance personnel can result from:
hazardous voltage
operating mechanisms under spring pressure
gas pressure in the pole columns
SF₆-gas and its decomposition products
falling and/or toppling parts and/or moving parts.
Non-compliance with safety regulations can result in death, severe personal injury and substantial damage to property and the environment.
In order to avoid accidents, fire and impermissible burdens on the environment and in order to assure the functional reliability of the switchgear, the user must ensure that:
-a responsible person, if necessary authorized to supervise, is put in charge of performance of maintenance
-only qualified and instructed personnel are assigned,
-the regulations and instructions for work safety (e.g. in the use of equipment), together with instructions on action to be taken in the event of accidents and fire, are available at all times and if necessary displayed in the place of work,
-the tools, equipment and apparatus required for work safety and the personal protective equipment required for certain tasks are available,
-only those spare parts, lubricants and auxiliary equipment approved by the manufacturer are used.
The safety regulations in these operating instructions are minimum requirements. They do not affect statutory laws, standards, specifications or internal regulations of the company concerned with the work. They do not claim to cover all eventualities and must be expressed concretely by the responsible persons at the latest before work actually starts. In addition to company internal rules and the specific work conditions, the product descriptions and instructions for use of tools, devices, apparatus, materials, lubricants and auxiliary equipment must be taken into account.
The following safety regulations provide an overview of the dangers existing and their sources, and describe the possible consequences if the rules specified are not complied with. They are expressed more exactly in the operating instructions.
Hazardous voltage - Electric shock and burning as a result of arcing are possible if live parts are approached.
Before maintenance is to be done, a responsible person from the power supply utility must, before work starts:
switch off and isolate
prevent unintentional switch-on
test that equipment is dead
ground and short-circuit the equipment
cover or fence off nearby live parts
It must be confirmed that these safety measures have been taken.
The closing and opening springs may be charged. If the control and motor power supply are not switched off, the closing spring will be automatically recharged after a closing operation. The spring state indicator shows only the position of the closing spring - unintentional switching operations can lead to severe personal injury.
Before beginning maintenance work, relax the opening and closing springs as follows:
switch off the motor power supply; only then
open the breaker, if the circuit-breaker is in the closed state.
close the breaker and
re-open the breaker.
disconnect the control voltage
The pole columns are under high pressure (see "technical data" 3-0080) - Damage to the porcelain parts can result in severe personal injury.
Before opening interrupter units, ensure pressure relief by means of the facility provided.
After relieving the pressure, gradually and uniformly undo the screw joints.
Do not allow any tools or hoisting gear to knock against the porcelain parts.
Do not lean any ladders against the pole columns use step ladders.
SF₆ is heavier than air and can displace the air required for breathing - Danger of suffocation.
-SF₆ is odourless, non-toxic and about five times heavier than air. SF₆ leads to displacement of oxygen. SF₆ concentrations of more than 19% vol. call for special protective measures. Such concentrations can occur in opened and unventilated SF₆ compartments, in confined spaces on the floor of switchgear installations and in lower-level rooms (e.g. basements, cable ducts).
-Sulphur hexafluoride (SF₆) must not be let off to the atmosphere. For maintenance work gas servicing equipment should be used.
Specifications for the use of SF₆ gas
IEC 376/DIN VDE 0373 part1 "Specification and acceptance tests of new sulphur hexafluoride (SF₆)
IEC 480/DIN VDE 0373 Part2 "Guidelines for the checking of sulphur hexafluoride (SF₆) taken from electrical equipment"
For Germany, the following also applies: Accident prevention sheet (relating to SF₆ installations) issued by the statutory industrial accident insurance institution for precision mechanics and electrical engineering.
Under effects of arcs, gaseous decomposition products and switching dust occur. Decomposition products of SF₆ are toxic - Coming into physical contact with them or inhaling them can cause irritation to the skin, eyes and mucous membranes. Nausea, dizziness and lung oedema can result.
-These substances vary in toxicity. In combination with moisture, switching dust is caustic and forms a coating that sticks fast. 6-10
-Small quantities of gaseous decomposition products already initiate alarm signals, e.g. pungent disagreeable smell similar to rotten eggs (hydrogen sulphide), before there is danger of suffocation.
-If emptied housings are opened after correct pressure relief, there is the possibility of contact with switching dust.
-Do not inhale or swallow switching dust (use dust masks), avoid contact with the eyes (wear gas-tight goggles) and the skin (use special working clothes).
-If switching dust has got onto the skin nevertheless, use plenty of water to rinse it off.
-Handle filters, rags and other material so that the dust extracted does not come off again. Do not open filter bags. Work clothes, filter bags, rags etc. which have come into contact with such dust, dispose of according to local regulations.
-Local environmental protection regulations must always be taken into account when SF₆ is disposed of. In special cases regarding SF₆ disposal, the nearest Siemens office should be contacted.
-Thoroughly clean face, neck, arms and hands with soap and plenty of water before breaks and at the end of work.
-Do not eat, drink or smoke in rooms containing opened gas compartments with switching dust, and do not keep any foodstuffs in them.
0200 Work to be Carried out in Accordance with the Maintenance Schedule
The measures compiled in the Section 6-0110 Maintenance schedule are described in detail below.
1.General check
The check covers a visual inspection of the circuit-breaker without it having to be dismantled. The visual inspection contents the following checks:
check the SF₆ filling with the circuit-breaker pressure gauge, see 1.1.
contamination of insulating parts
damage to the porcelain body
number of operating cycles
Checking the SF₆-gas filling
When measuring the temperature-dependence of the pressure in accordance with the diagram, refer to "SF₆ filling curve and response values of the density monitor" (see Section 3-0080 Technical Data).
This means that, if possible, the mean temperature of the SF₆ gas in the circuit-breaker should be determined (Measurements should be avoided in times of strong fluctuations of the ambient temperature and immediately after high-current loads).
If the measured value lies below the SF₆ filling curve, the SF₆ gas filling must be corrected (using a gas cylinder or servicing equipment).
Check humidity and the air content of the SF₆ gas that may be left in the service unit. (see section 6-0200-12).
If the measured SF₆ pressure lies below the filling curve by not more than 0.3 bar/0.03MPa/4.4 psig (permissible gas loss), refill with SF₆.
If the measured value is more than 0.3 bar/0.03 MPa/ 4.4 psi below the filling curve specified, a leak test must be carried out and the leak must be repaired. Then the filling must be corrected.
2 Drawing off the SF₆ gas
It is recommended to draw off the SF₆ gas with a service unit so that it can again be used almost completely for the subsequent filling. The service unit has all the facilities for drawing off and filling the SF₆ gas.
The condition of the SF₆ gas in the service unit should be checked in advance.
3 Contact system check
The interrupter unit is described in Section 3-0810.
This check is made without the interrupter unit having to be dismantled; only the contact support with the contact tube is removed.
3.1 Open all interrupter units and withdraw upper contact carrier
The breaker must be in the open position. Disconnect the upper high-voltage lead.

22.22 High-voltage terminal
22.29 Sealing ring
22.3 Contact carrier
x Screws M 16×45
y Screws M 16×80
Fig.1 Contact carrier
2.Mark the mounting position of the plate 22.3, as it will be mounted again in the same position.
3. Unscrew terminal 22.22. Remove the screws designated with x (Fig. 1). Then unscrew contact support 22.3, by removing the screws marked with y. Attention
Attention in the sense of these operating instructions means that light personal injury or property/environmental damage may occur if appropriate safety measures are not taken.
Pull out the contact carrier 22.3.
Attention
Support the contact support 22.3 when removing so that it does not tilt and the pin 22.9 (Fig.2) and the finger locator are not damaged.
3.2 Visual inspection of contact system
In new state, the pin 22.9 protrudes 9.5 mm beyond the nozzle guide 22.3.2 (Fig.2). If the remaining length "a" is less than 7 mm, the contact carrier 22. and the moving contact must be replaced.
The contact fingers 22.3.1 must be inspected regardless of the state of the pin 22.9. If the spatter marks that have formed on part of the perimeter of the front edge of the contact fingers are more than 2 mm wide in an axial direction, the contact fingers 22.3.1 and the moving contact 22.7 must be replaced. 6-14

22.1 Jacket
22.23 Base
22.3 Contact carrier
22.3.1 Contact finger
22.3.2 Nozzle guide
22.9 Pin
22.7 Moving contact
a =9.5 ... 7.0 mm
z Area of spatter marks on contact fingers
Fig.2 Inspection of contact carrier
3.3 Reassembly of interrupter unit
Clean the sealing faces.
Attention
The sealing faces of the flanges must be treated carefully since even minor damage may lead to leaking joints.
Before bolting together the flanges wipe them with tissue paper or cloth soaked in a recommended cleaner and grease them as shown in Fig.3.
Attention
The screws marked x,y have different dimensions. They must not be interchanged.
Use a new sealing ring 22.29 (Fig.1) in the plate 22.31 and insert it together with the contact support 22.3, and screw it down in the position marked.

1 Grease sealing rings with Vaseline 8420
a Grease with corrosion protection agent WD 40
b Grease with Tectyl 506
Fig.3 Treatment of the sealing flanges
3.4 Replacement of filters
It is absolutely necessary to protect the filter material against atmospheric humidity. The material must therefore not be directly exposed to the open air for a longer period than 1 hour, It is supplied in closed tins. Check the closed tins for damage. Filter material from leaky tins must not be used.
The filter material is accommodated in the corner gear (see Section 3-0510 Pole Columns). Remove cover 15.16.11 with O-seal ring (Fig.4) (4xM10 screws). Remove the old filter bag from the corner gear. Place a new filter bag in pocket below the horizontal tongue X in the corner gears housing. Grease cover 15.16.11 with seal ring at the sealing surfaces and re-install (4xM10 screws).
Dispose of old filter bags 15.16.3 in accordance with local regulations.
Note
Do not fit new filter bags until shortly before evacuation (max. one hour).

|
15.16.3 |
Filter bag |
|
15.16.11 |
Cover with O-seal ring |
|
X |
Tongue |
Fig.4 Inserting the filter
4.Filling the breaker with SF₆
The circuit-breaker may be filled only by or under the supervision of qualified personnel and in accordance with the SF₆ filling curve (see section 3-0080 Technical Data).
WARNING
A safety valve with a nominal opening pressure of 8bar/0.08 MPa/116 psig must be part of the filling device.
The safety valve prevents the pressure compartments from being overstressed due to an impermissibly high pressure.
For filling with SF₆ gas, use a service unit containing all required devices.
If a service unit is not available, a vacuum pump must then be available for evacuating the breaker prior to the SF₆ being filled in.
The SF₆ gas is then taken directly from a gas cylinder via the SF₆ filling device W423.
Filling by using a service unit
Connect the service unit at the filling connection W1 (Fig.5). Evacuate the circuit-breaker down to a pressure of ≤20 mbar/0.002 MPa/0.29 psig; then switch the service unit for "fill". The required filling pressure and response values are temperature-dependent and must be taken from the diagram, "SF₆ filling curve and response values of the density monitor", section 3-0080 Technical Data.

18 Operating mechanism unit
W1 Filling connection
Fig.5(a) Filling connection W1 (with density monitor and pressure gauge separately)
Fig.5(b) Filling connection W1 (with integrated density monitor and pressure gauge)
Using gas from cylinders
Siemens offers a complete filling device of type W 423 for filling the breaker with SF₆-gas from a gas cylinder (Fig.6)

Fig.6 SF₆ filling device W423

1 Gas cylinder
2 Pressure reducer regulating valve
3 Pressure gauge (0-10 bar)
4 Safety valve
W1 Filling connection
Fig.7 SF₆ filling device connected
To pour in gas, connect the maintenance flange of the filling device to maintenance flange W1 of the breaker (Fig. 5). Slowly open the regulating valve (Fig.7) at the pressure reducer with the vent valve closed, to avoid any ice formation at the fitting. Monitor the filling process at the precision pressure gauge.
Care must be taken that the filling pressure, which depends on the ambient temperature, is correct. For nominal filling pressure see diagram in Section 3-0080 Technical Data.
At an ambient temperature other than +20℃, the SF₆filling pressure must be taken from the diagram in Section 3-0080 Technical Data.
The filling tolerance may be up to 0.3 bar/0.03 MPal 4,4 psig over the nominal pressure curve.
When filling is completed,unscrew the filling device and close maintenance flange W1 (from DILO). Tighten the union nut.
5.Check and Checkout SF6 pressure gauge
5.1 Check SF 6 pressure gauge (with density monitor and pressure gauge separately)
The difference between the measured values on the test pressure gauge class 0.6 and the operating pressure class 1.6 must not be greater than the sum of the permissible divergence between the two pressure gauges. This means that with a test pressure gauge of class 0.6 having a range from 15 bar/1.5 MPa/ 217.5 psig the divergence from the breaker pressure gauge of class 1.6 must not be greater than 0.3 bar/0.03 MPa/4.4 psi. A divergence greater than 0.2 bar/0.02 MPa/2. psig must be noted at the breaker pressure gauge (handwritten on adhesive tape).
5.2 SF6 pressure gauge calibration (with integrated density monitor and pressure gauge)(Fig.8)
On-site calibration: first unload the Nut and Valve tappet to segregate the part 1from gas room of circuit breaker, then full the standard air pressure across filling connection to checkout the Gas density monitor according to stated process.
No on-site calibration: make calibration of the Gas density monitor according to stated process.
Load and unload Gas density monitor as following process
Unload: Nut Valve tappet 2→Gas density monitor 1
Load: Gas density monitor 1→Nut Valve tappet 2

1Gas density monitor 2 Nut Valve tappet 3 Filling connection
Fig.8 integrated density monitor and pressure gauge
Attention
After unload, gas mouth must be covered to keep from dust and moisture coming.
6. Testing the density monitor
6.1 Check function of SF6 density monitor
Undo sealing cap on test connection W2 (the gas compartment and density monitor are separated by a nonreturn valve) and check whether the density monitor contacts respond.
6.2 Check operating values of SF6 density monitor
For testing the density monitor B4, a connection W2 is provided.(3/4"thread, Fig.8).The hose of SF6 filling unit W424 can be connected here without any SF6 having to be extracted from the circuit breaker.

W2 Test connection
B4 Density monitor
Fig.9(a) Test connection W2 (with density monitor and pressure gauge separately)
Fig.9(b) Test connection W2 (with integrated density monitor and pressure gauge)
To test the density monitor,the nut with the inset is removed, which closes the non-return valve in the direction of the gas compartment. No gas can thus escape through the opened test connection.The test connection (W2) is now connected directly with the density monitor,such that (after connection of the filling device W424) the operating points of the density monitor (Section 3-0080 Technical Data) can be checked by regulating the SF6 pressure on the pressure reducer.
6.3 Check for leaks on operational breaker
The rated pressure of the SF6 gas can be found in the table in the section 3-0080 Technical Data.When the filling of the breaker is completed,all new connections must be checked for leaks. This can occur with a leakdetector or leak-detecting spray e.g. from Wobst. If neither is available, leaks can also be checked using soap solution.
7 Insulation sleeve
7.1 Auxiliary switch
The bearings of the auxiliary maintenance-free.Check the linkage for wear and switch are damage (Fig.11).
Press the spring lap of the AMP plug if the leads are to be disconnected from the auxiliary switch. By pulling on the isolation shell of the AMP plug, the AMP plug with isolation shell will be automatically released.

1 Insulation sleeve 2 Spring shackle 3 Direction of pull
Fig.10 AMP plug

18.10 Auxiliary switch, coupling bar
18.22 Auxiliary switch
Fig.11 Auxiliary switch
7.2 Visual inspection of the spring drive mechanism
Visually inspect dampers for closing and opening for any leaks.Look out for yellowish oil traces in the vicinity of the lower damper fastener (Fig. 12).
Note
If you find any yellowish oil traces at the specified positions (fig.12),

18.41 Damper for closing
18.15 Damper for opening
Fig.12Check the dampers
7.3 Check trip coil and latching blocks
Check that the trip coil plate (bolts M6X40with tightning torque of 8+1 Nm) and the latching blocks (bolts M10X70 with tightning torque of 40+4 Nm) are firmly fixed (Fig.13).

18.8 Trip coil "Open"
18.16 Trip coil "Close"
18.21.1 Support lever
18.21.2 Articulated lever
18.21.4 Hex.screw 4×(M6×10)
A Hexagonal nut M10×70
Fig.13 Latching block
8.Electrical connections
Check the terminal connections for firm seating and the terminals for damage.
9.Anti-condensation
Check the effectiveness of the anti-condensation heatng and the function of the existing monitoring device if applicable.
10.Functional checks
10.1 Functional check,trip circuits
Check the tripping action of the circuit-breaker via all the existing tripping paths.
10.2 Functional check lock-out
10.2.1 Functional check, reclosing lock-out
During the process of charging the closing spring, the effectiveness of the reclosing lock-out must be checked by means of an electrical "Close"command. The tripping coil must not operate.
10.2.2Functional check SF 6
At a level below the operating pressure,check the signal and the effectiveness of the function lock-out by means of electrical "Close"and "Open" commands in all tripping paths. The breaker must not operate.
10.3 Functional check,anti-pumping feature
Breaker in"Open" state: (Closing spring charged)
-Give electrical "Close"command and keep buton pressed in (maintained command)
The circuit breaker must only open.
11.Check of motor control
Check whether after a closing operation the motor is activated by a limit switch, and, whether after the charging process of the closing spring the motor is deactivated via a limit switch.
12.Check SF 6 gas humidity
Before putting the breaker into operation,the humidity ofthe SF6 -gas must be checked.For this a commercially available dew point measuring instrument with °C scale can be used. The maximum permissible dew point temperatures at operating pressure corresponding to the permissible humidity are stated below.
|
Dew point |
|
|
Critical humidity limit |
-5℃(+23 °F) |
|
Maximum permissible humidity during commissioning /in operation |
-10℃(+14°F) |
If the measured dew point temperature is over-10 °C/ +14°F, the gas must be desiccated by means of a SF6 service unit.
12.1Measure SF 6 air content
When the breaker has been filled with new gas and following maintenance work, the air content should not be more than 5% as measured with the SF6 percentage instrument 3-027 from DILO (D-87727 Babenhausen, Federal Republic of Germany).This instrument measures the SF6 volumetric portion (at) least 95%). In exceptional cases,the "Air content instrument" from Gesellschaft fur Geratebau Dortmund can also be used.
13. Anti-corrosion protection
Check the paintwork of the circuit-breaker for damage. Defective parts must be derusted,provided with a prim-ing coat and varnished.
14.Special occurrences
Check whether,since the last instance of maintenance,any special occurrences,e.g. incorrect opening and closing of the circuit-breaker, loss of SF 6 gas etc. have been documented.
Function Diagram of Spring Drive Mechanism
|
15.9 |
Lever |
|
16 |
Post insulator |
|
16.9 |
Operating rod |
|
18.1 |
Motor |
|
18.1.1 |
Manual winding mechanism |
|
18.2 |
Charging gear |
|
18.3 |
Advancing pawl (freewheeling) |
|
18.4 |
Closing spring |
|
18.6 |
Cam disc |
|
18.7 |
Lever |
|
18.8 |
Release OPEN |
|
18.9 |
Opening latch |
|
18.10 |
Connecting rod (for closing spring) |
|
18.11 |
Opening spring |
|
18.14 |
Charging shaft |
|
18.15 |
Damper for opening |
|
18.16 |
Release CLOSE |
|
18.17 |
Closinglatch |
|
18.18 |
Backstop |
|
18.19 |
Cam |
|
18.22 |
Operating shaft |
|
18.24 |
Operating lever |
|
18.27 |
Connecting rod(for opening spring) |
|
18.27.1 |
Driving rod |
|
18.41 |
Damper for closing |
|
22 |
Interrupter unit |

Send Inquiry
You may like


