Ⅰ.Product Introduction
SF6 Indoor High Voltage Circuit Breaker is a type of high-voltage electrical equipment widely used in power transmission and distribution systems. It operates at 40.5kV and is an indoor type circuit breaker suitable for use in power substations, industrial and mining enterprises, and other urban power grid systems.
The interrupter unit consists of an SF6 arc-extinguishing chamber, contact system, and other auxiliary devices. The SF6 circuit breaker uses SF6 gas as an arc-extinguishing and insulating medium to achieve excellent breaking and short-circuit current interruption performance. The contact system is used to establish and break the circuit.
Ⅱ. Application Range and Fields
SF6 Indoor High Voltage Circuit Breaker has a wide range of applications in various fields, such as:
Power Plants: Suitable for the protection of transformers, generators, and transmission lines.
Substations: SF6 Indoor High Voltage Circuit Breaker can be used for incoming and outgoing lines of high-voltage switch-gear.
Industrial and Mining Enterprises: Protection and control of motors, transformers, capacitors, and power distribution systems.
Petrochemicals:Helpful for the protection of chemical production, oil refining, and other systems.
Metallurgy:Can be used for the protection and control of power distribution in steel plants, casting plants, rolling mills, and other industries.
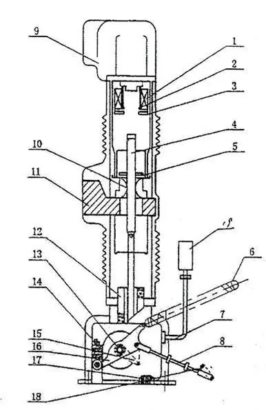
Ⅲ. Drawings:
1. Coil 2. Arc contact 3. Ring electrode
4. Moving contact 5. Blowing aid 6. Opening spring
7. Self-sealing valve and valve cover 8. Pull rod 9, upper connector
10. Ribbon contact 11. Insulated tube (including bottom connection) 12, adsorber 13. Spindle 14. Opening buffer
15. Main crank arm 16. Crank arm 17. Closing buffer
18. Mechanism spindle 19. Density control table
Figure - SPG(LN2) type SF6 circuit breaker schematic diagram
Ⅳ. Technical Parameters:
Table 2: Mechanical property parameter
|
SN. |
Parameters |
Unit |
Value |
|
SPG(LN2)-40.5 |
|||
|
1 |
Conductor rod travel |
mm |
61±2 |
|
2 |
Electric closing position The distance between the upper end of the guide bar and the absolute upper end is size A |
84±1.5 |
|
|
3 |
The three phase switching is not more than the same |
Ms |
3 |
|
4 |
Minimum air insulation distance is not less than |
Mm |
310 |
|
5 |
The DC resistance of each phase conductive circuit is not greater than |
60 |
|
|
6 |
Rigid component velocity |
m/s |
2.2±0.6 |
|
7 |
Rigid-fit velocity |
1.9±0.5 |
Table 1: Main Technical Parameters
|
SN. |
Parameters |
Unit |
Value |
||||
|
SPG(LN2)-40.5 |
|||||||
|
1 |
Rated Voltage |
KV |
35 |
||||
|
2 |
Maximum operating voltage |
KV |
40.5 |
||||
|
3 |
Rated insulation level |
Lightning impulse withstand voltag |
KV |
185 |
|||
|
Power frequency withstand voltage (1min) |
95 |
||||||
|
4 |
Rated Frequency |
HZ |
50 |
||||
|
5 |
Rated current |
A |
630A/1250A/1600A/2000A/2500A |
||||
|
6 |
Rated short-circuit breaking current |
25/31.5 |
|||||
|
7 |
Rated operation sequence |
O-0.3S-CO-180S-CO |
|||||
|
8 |
Rated short-circuit closing current |
KA |
63 |
||||
|
9 |
Rated dynamic stability current |
peak value |
63 |
||||
|
10 |
Rated thermal stability current |
KA |
25 |
||||
|
11 |
Rated thermal stability time |
S |
4 |
||||
|
12 |
Opening and closing individual capacitor bank opening current |
A |
400 |
||||
|
13 |
Rated out-of-step breaking current |
KA |
6.3 |
||||
|
14 |
Accumulated breaking times under rated current |
Ops |
2000 |
||||
|
15 |
Accumulated breaking times under rated short-circuit breaking current |
16 |
|||||
|
16 |
Mechanical life |
Equipped with CT19-A spring mechanism |
10000 |
||||
|
Equipped with CD10IIIG electromagnetic mechanism |
10000 |
||||||
|
17 |
Closing time |
Spring mechanism |
|
≤0.15 |
|||
|
Electromagnetic mechanism |
≤0.2 |
||||||
|
18 |
Inherent opening time |
Operating voltage |
minimum |
≤0.10 |
|||
|
rated |
|||||||
|
The highest |
≤0.07 |
||||||
|
19 |
Annual air leakage rate |
≤1% |
|||||
|
20 |
Sulfur hexafluoride gas moisture content |
PPM(V) |
150 |
||||
|
21 |
Rated operating voltage with CT19-A spring actuating mechanism |
Closing coil |
V |
DC48.110.220 |
|||
|
Opening coil |
直流48.110.220 |
||||||
|
motor |
直流110.220 |
||||||
|
22 |
Rated operating voltage for CD10IIIG electromagnetic actuator |
Closing coil |
直流110.220 |
||||
|
Opening coil |
直流48.110.220 |
||||||
|
23 |
weight |
Circuit breaker body |
kg |
135 |
|||
|
Sulfur hexafluoride gas |
1.5 |
||||||
Ⅴ.Product Features and Advantages
High-Performance: SF6 Indoor High Voltage Circuit Breaker provides excellent breaking and short-circuit current interruption performance.
Reliable Operation: The operating mechanism provides reliable operation under various working conditions, and it has a long service life with low noise.
Low Maintenance Cost:Efficient design reduces maintenance and repair costs over time.
High Safety and Stability:The product has high insulation performance and strong anti-condensation ability, making it suitable for indoor use in harsh environments.
Flexible Installation:The product can be installed vertically or horizontally, making it easy to integrate into existing systems.
6.High Quality and Price : We not only have a competitive price, but also have a professional after-sales service team to provide timely and professional service, Which means we have good quality and price.
OEM/ODM Services:
At Shaanxi Yuguang Electric Co., Ltd., we understand the importance of customization. That's why we offer comprehensive OEM and ODM services to meet your specific requirements. Whether you need private labeling or custom product development, our experienced team is here to assist you every step of the way.
Certificates:
We take pride in our commitment to quality and safety. Our products are certified to meet the highest industry standards, including:
3C Certification
ISO 9001 Certification
21 Utility Model Patents and Design Patents

Why Choose Us:
State-of-the-art Manufacturing Equipment
Extensive Testing Facilities
Comprehensive Quality Assurance Processes
ISO 9001 Certified Quality Management System
One-year Warranty on All Products
Large Production Capacity
FAQ:
Q: What is the warranty period for your products? A: We offer a one-year warranty on all our products.
Q: Can you customize products according to our specifications? A: Yes, we provide OEM and ODM services to meet your specific requirements.
Q: Are your products compliant with international standards? A: Yes, our products meet all relevant international standards.
Q: What is the lead time for orders? A: The lead time depends on the quantity and customization requirements. Please contact us for more information.
Q: Do you provide technical support? A: Yes, we offer comprehensive technical support to our customers.
Packaging:
Wooden Box Packaging
Carton Packaging
Foam-filled Packaging
Waterproof and Moisture-proof Packaging
Customized Packaging
International Standard Packaging
Logistics:
Sea Freight
Air Freight
Land Transportation
Multimodal Transport
Express Delivery Services
Contact Us:
Ready to take your electrical projects to the next level? Contact us today at ygvcb@hotmail.com to discuss your requirements and explore partnership opportunities with Shaanxi Yuguang Electric Co., Ltd. Let's create a brighter future together.


